有源电力滤波器(APF)




性能特点:
- 分级保护:装置硬件快速保护及软件组合逻辑保护。
- 多级防护:装置主回路及端口均配置工业级防护电路。
- 自动脱网:装置有自动并网和脱网能力,当超出装置许可范围时,会执行自动脱网保护。
- 快速响应:采用高速DSP+CPLD器件,闭环响应速度高达50us,保证了系统的快速性及精准度。
- 自由扩容:装置设计为可组合的模块形式,可通过增加模块数量进行扩容。
- 洁净输出:装置采用多相矢量分解算法,主回路选用高磁导材料铁芯,确保电能输出无杂波。
- 高效能比:装置整机采用低功耗设计,额定负载情况下,装置效率高达97.5%。
- 接线灵活:装置支持电源侧或负载侧的任一接入方法,自动检测互感器极性,可防反接。
- 相序自适应:装置可依相序调整测量与控制通道的对应关系,在接线失误时依然可以调整到正常工作状态。
应用行业:
广泛应用于国家电网、地铁、化工、城建、医院、工矿等众多行业领域。
产品简介
有源滤波器基于高速的滤波补偿技术,消除各种形式的谐波,可应用于各种谐波污染的工况。具有响应速度快、滤波范围广、滤波效果高、不受系统参数影响等特点,达到改善用电质量,降低电网损耗、提高供电利用效率和带载能力的目的,是滤波产品的优选。
产品功能
- 两种功能:动态跟随滤波功能、静止无功补偿功能。
- 三种模式:动态滤波、滤波优先、无功补偿。
- 自动诊断:装置有开机自检、重启条件判断、运行过程状态自诊断功能,在恶劣环境下装置会自动降额以实施保护策略。
- 动态跟随滤波功能:可同时滤除2~61次谐波,可组合滤波或指定单一次数的滤波,滤波有效性达97%以上。
- 静止无功补偿功能:可连续平滑无阶梯精准补偿感性无功和容性无功,可跟踪功率因数至0.999,设置分辨率0.001。
- 容量配置:50~600A,或并机后的更大容量。
- 通信功能:支持RS485、WiFi、ModBus等。
- 监控方式:知汇电能监控平台、知汇能效监控平台,支持其他监控平台软件定制。
- 安装方式:具有模组和机柜两种产品形态,可机架式安装、壁挂式安装、机柜式安装等形式。
- 环境要求:运行温度:-10℃~55℃;相对湿度:5%~95%,无凝露。
治理方案
- 1、卓越的补偿性能
多种补偿模式,优先谐波补偿,兼顾无功补偿; 最高滤波次数为51次,谐波能力大于97%;
全范围无功补偿,提高功率因数; 三电平主电路,更低功耗、更高效率 ;全响应时间小于10ms,控制快速,有利暂态稳定性的提高。 - 2、完善的设备和系统保护
设备外部电气故障保护,包括母线短路、电压过欠压、过欠频、相序错误、电流反序等
设备内部故障保护,包括过流保护、IGBT过热保护等
工作环境超限自动降容
软件及硬件限流
谐振躲避,自动远离系统谐振点 - 3、人性化的人机交互体验
人机交互4.3英寸液晶触摸屏,便捷直观;
通过图形化显示界面,用户可清晰了解补偿前后系统波形图、谐波频谱图、
THDi、THDu、电流有效值、功率因数等系统的电能质量改善情况 - 4、灵活的应用方案
模块化设计,方便扩展,最多16个模块并联
机架式或壁挂式两种模块,适应多种安装环境
三相三线、三相四线兼容,冗余N线接线端子,最大限度适应现场环境
工作原理

选型说明

产品列表

技术参数

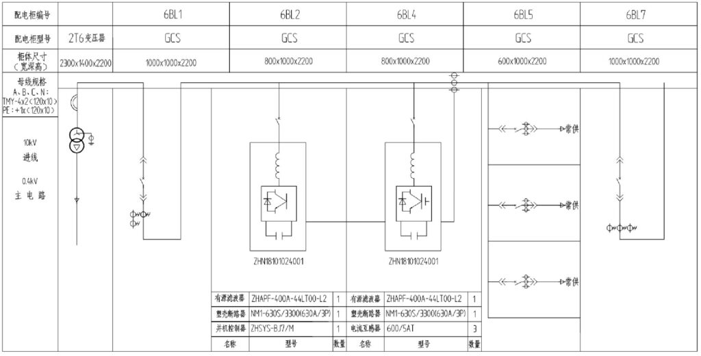
应用电气图例
全部配置有源滤波装置图例

有源滤波装置和电容补偿混合配置图例

产品尺寸图

